Werkstoff: Grauguss EN-GJL-250, phosphatiert.
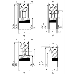
Keilriemenscheiben für Taper-Spannbuchsen, zur schnellen und einfachen Montage. Die Taper-Spannbuchse muss separat bestellt werden. In Anlehnung an DIN 2211 bzw. DIN 2217 bzw. ISO 4183, zur Verwendung mit klassischen Keilriemen DIN 2215 und Schmalkeilriemen DIN 7753-1 / ISO 4184. Der Nenndurchmesser D1 ist der Wirkdurchmesser.

1) Ø 63-67mm nicht für Keilriemen SPA und XPA.
2) Ø 71-85mm nicht für Keilriemen SPA.
3) Ø 63mm Stahl C45, phosphatiert.


Im Zuge der Sortimentserweiterung dieser Produktgruppe wurden neue Teilenummern vergeben. Hier erhalten Sie eine vollständige Übersicht der bisherigen und neuen Artikelnummern:

Übersicht Nachfolger Taper-Keilriemenscheiben

Service:

Katalogseite

Zusätzliche Informationen

Montageanleitung



Die angebotenen CAD-Daten, Abbildungen und technischen Zeichnungen werden mit größtmöglicher Sorgfalt erstellt.
Dennoch kann keine Gewährleistung für die Fehlerfreiheit und Genauigkeit dieser Daten übernommen werden.

( freibleibend aus Lagervorrat / kurzfristig lieferbar / Lieferzeit nach Vereinbarung. Bitte fragen Sie nach. )
Artikel Menge Bisherige ArtikelnummerRillen-AnzahlNenn-Ø D1
[mm]
Ø DA
[mm]
AusführungTaper-Buchse
[Nr.]
Bohrung
[mm]
E
[mm]
h
[mm]
J
[mm]
K
[mm]
L
[mm]
M
[mm]
N
[mm]
Gewicht ca.
[kg]
151-A-2-63
263 1) 3)68,581008 9 - 25-3532,51322--0,42
151-A-2-67
267 1)72,581108 9 - 28 -35371322--0,44
151-A-2-71
15320700271 2)76,581108 9 - 28 -35401322--0,50
151-A-2-75
275 2)80,581108 9 - 28 -35441322--0,59
151-A-2-80
15320800280 2)85,581210 10 - 32 -35501025--0,58
151-A-2-85
285 2)90,581210 10 - 32 -35551025--0,75
151-A-2-90
1532090029095,581610 12 - 42 -35591025--0,71
151-A-2-95
295100,581610 12 - 42 -35631025--0,85
151-A-2-100
153210002100105,581610 12 - 42 -35661025--0,96
151-A-2-106
2106111,581610 12 - 42 -35721025--1,20
151-A-2-112
153211002112117,581610 12 - 42 -35781025--1,38
151-A-2-118
2118123,581610 12 - 42 -35841025--1,58
151-A-2-125
153212002125130,581610 12 - 42 -35911025--1,88
151-A-2-132
2132137,582012 12 - 50 -3598332--2,07
151-A-2-140
153214002140145,582012 12 - 50 -35106332--2,50
151-A-2-150
2150155,582012 12 - 50 -35116332--2,99
151-A-2-160
153216002160165,582012 12 - 50 -35125332--3,50
151-A-2-170
2170175,582012 12 - 50 -35135332--3,20
151-A-2-180
153218002180185,562012 12 - 50 10351461,5321,51084,00
151-A-2-190
2190195,562012 12 - 50 10351561,5321,51083,66
151-A-2-200
153220002200205,572517 15 - 65 103516554551234,74
151-A-2-212
2212217,572517 15 - 65 183517754551235,22
151-A-2-224
153222002224229,5132517 15 - 65 1835189-45101245,45
151-A-2-236
2236241,5142517 15 - 65 1235202-45101245,74
151-A-2-250
153225002250255,542517 15 - 65 123521554551245,65
151-A-2-280
153228002280285,5132517 15 - 65 1235245-45101246,20
151-A-2-300
2300305,5142517 15 - 65 1235265-45101246,86
151-A-2-315
153231002315320,5132517 15 - 65 1235280-45101247,17
151-A-2-355
2355360,5132517 15 - 65 -35320-45101247,79
151-A-2-400
2400405,5132517 15 - 65 -35365-45101249,89
151-A-2-450
2450455,5132517 15 - 65 -35465-451012411,02
151-A-2-500
2500505,5132517 15 - 65 -35525-451012513,10
151-A-2-630
2630635,543020 20 - 75 -3559585118159,0018,50


zur Gruppe


Impressum AGB Hilfe Datenschutzerklärung Index


MÄDLER on Facebook Facebook MÄDLER on Youtube YouTube MÄDLER on Twitter Twitter MÄDLER on Instagram Instagram MÄDLER on Xingk Xing MÄDLER on Linkedin LinkedIn