Werkstoff: Grauguss EN-GJL-250, phosphatiert.
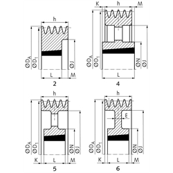
Keilriemenscheiben für Taper-Spannbuchsen, zur schnellen und einfachen Montage. Die Taper-Spannbuchse muss separat bestellt werden. In Anlehnung an DIN 2211 bzw. DIN 2217 bzw. ISO 4183, zur Verwendung mit klassischen Keilriemen DIN 2215 und Schmalkeilriemen DIN 7753-1 / ISO 4184. Der Nenndurchmesser D1 ist der Wirkdurchmesser.

1) Ø 80mm nicht für Keilriemen SPA.

Service:

Katalogseite

Zusätzliche Informationen

Montageanleitung



Die angebotenen CAD-Daten, Abbildungen und technischen Zeichnungen werden mit größtmöglicher Sorgfalt erstellt.
Dennoch kann keine Gewährleistung für die Fehlerfreiheit und Genauigkeit dieser Daten übernommen werden.

( freibleibend aus Lagervorrat / kurzfristig lieferbar / Lieferzeit nach Vereinbarung. Bitte fragen Sie nach. )
Artikel Menge Rillen-AnzahlNenn-Ø D1
[mm]
Ø DA
[mm]
AusführungTaper-Buchse
[Nr.]
Bohrung
[mm]
E
[mm]
h
[mm]
J
[mm]
K
[mm]
L
[mm]
M
[mm]
N
[mm]
Gewicht ca.
[kg]
151-A-4-80
480 1)85,581215 14 - 28 -65492738--1,08
151-A-4-90
49095,581615 12 - 42 -65592738--1,31
151-A-4-95
495100,581615 12 - 42 -65632738--1,43
151-A-4-100
4100105,521615 12 - 42 -6566-3827-1,71
151-A-4-106
4106111,582012 12 - 50 -65723332--1,67
151-A-4-112
4112117,582012 12 - 50 -65783332--1,91
151-A-4-118
4118123,522012 12 - 50 -6584-3233-2,21
151-A-4-125
4125130,522012 12 - 50 -6591-3233-2,55
151-A-4-132
4132137,522517 15 - 65 -6598-4520-2,72
151-A-4-140
4140145,522517 15 - 65 -65106-4520-3,34
151-A-4-150
4150155,522517 15 - 65 -65116-4520-4,20
151-A-4-160
4160165,522517 15 - 65 -65125-4520-5,00
151-A-4-170
4170175,522517 15 - 65 -65135-4520-5,63
151-A-4-180
4180185,522517 15 - 65 -65146-4520-6,70
151-A-4-190
4190195,522517 15 - 65 -65156-4520-7,54
151-A-4-200
4200205,523020 20 - 75 -65165-5114-8,30
151-A-4-212
4212217,523020 20 - 75 -65177-5114-9,57
151-A-4-224
4224229,523020 20 - 75 -65189-5114-11,04
151-A-4-236
4236241,563020 20 - 75 2565202-51141598,88
151-A-4-250
4250255,563020 20 - 75 206521575171599,35
151-A-4-280
4280285,563020 20 - 75 2565245751715911,0
151-A-4-300
4300305,563020 20 - 75 2565265751715911,7
151-A-4-315
4315320,563020 20 - 75 2565280751715912,0
151-A-4-355
4355360,553020 20 - 75 -65320751715912,05
151-A-4-400
4400405,553020 20 - 75 -65365751715915,9
151-A-4-450
4450455,553020 20 - 75 -65415751715919,18
151-A-4-500
4500505,553020 20 - 75 -65465751715918,5
151-A-4-560
4560565,543535 30 - 90 -6552512891217535,0
151-A-4-630
4630635,543535 30 - 90 -6559512891217537,5
151-A-4-800
4800805,543535 30 - 90 -6576512891217541,2
151-A-4-1000
410001005,544040 40 - 100 -6596518,510218,521070,2


zur Gruppe


Impressum AGB Hilfe Datenschutzerklärung Index


MÄDLER on Facebook Facebook MÄDLER on Youtube YouTube MÄDLER on Twitter Twitter MÄDLER on Instagram Instagram MÄDLER on Xingk Xing MÄDLER on Linkedin LinkedIn